|
№ поз. |
Номер |
Part name |
Наименование |
К-во |
Примеч. |
|
|
DP180LB |
DP180LA |
|||||
|
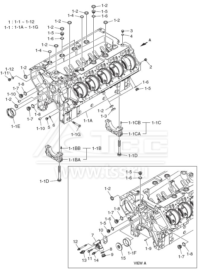
1 |
150102-00667 |
CYLINDER BLOCK ASS'Y |
Блок цилиндров в сборе |
1 |
1 |
Поз. 1-1…1-12 |
|
1-1 |
150102-00673 |
CYLINDER BLOCK ASS'Y |
Блок цилиндров в сборе |
1 |
1 |
Поз. 1-1А…1-1G |
|
1-1А |
150102-00676 |
BLOCK ; CYLINDER |
Блок цилиндров мехобработанный |
1 |
1 |
|
|
1-1В |
140202-00008 |
BEARING CAP ASS'Y |
Крышка коренного подшипника коленчатого вала в сборе |
5 |
5 |
Поз. 1-1ВА…1-1ВВ |
|
1-1ВА |
140202-00011 |
CAP ; BEARING |
Крышка коренного подшипника коленчатого вала |
5 |
5 |
|
|
1-1ВВ |
06.22022-3061 |
PIN ; DOWEL |
Штифт направляющий |
10 |
10 |
|
|
1-1С |
140202-00020 |
BEARING CAP ASS'Y |
Крышка коренного подшипника коленчатого вала в сборе |
1 |
1 |
Поз. 1-1СА…1-1СВ |
|
1-1СА |
140202-00011 |
CAP ; BEARING |
Крышка коренного подшипника коленчатого вала |
1 |
1 |
|
|
1-1СВ |
65.91301-0071 |
PIN |
Штифт центрирующий |
2 |
2 |
|
|
1-1D |
65.90020-0293B |
BOLT ; BEARING CAP |
Болт крышки коренного подшипника коленчатого вала |
12 |
12 |
|
|
1-1Е |
65.04410-0018 |
BUSH ; CAMSHAFT |
Втулка распределительного вала |
1 |
1 |
|
|
1-1F |
65.04410-0078 |
BUSH ; CAMSHAFT |
Втулка распределительного вала |
5 |
5 |
|
|
1-1G |
06.01494-4316 |
BOLT ; HEX. M12x1.5x85 |
Болт с шестигранной головкой М12х1,5х85 |
12 |
12 |
|
|
1-2 |
65.91606-0039 |
PLUG ; CORE |
Пробка |
13 |
13 |
|
|
1-3 |
65.91606-0037 |
PLUG ; CORE |
Пробка |
3 |
3 |
|
|
1-4 |
65.90302-0041 |
PLUG ; CORE |
Пробка |
2 |
2 |
|
|
1-5 |
65.90310-0149A |
SCREW ; PLUG M26x1.5 |
Пробка резьбовая М26х1,5 |
6 |
6 |
|
|
1-6 |
06.56190-0726 |
RING ; SEAL |
Шайба уплотнительная |
6 |
6 |
|
|
1-7 |
65.90310-0134 |
SCREW ; PLUG |
Пробка резьбовая |
4 |
4 |
|
|
1-8 |
06.56190-0732 |
RING ; SEAL |
Шайба уплотнительная |
4 |
4 |
|
|
1-9 |
06.22022-1063 |
PIN |
Штифт центрирующий |
2 |
2 |
|
|
1-10 |
06.22022-3563 |
PIN ; DOWEL |
Штифт направляющий |
2 |
2 |
|
|
1-11 |
65.90310-0131 |
SCREW ; PLUG |
Пробка резьбовая |
1 |
1 |
|
|
1-12 |
06.56190-0713 |
RING ; SEAL A18x24 |
Шайба уплотнительная А18х24 |
1 |
1 |
|
|
2 |
65.91701-0274 |
PIN ; LOCATING |
Штифт центрирующий |
20 |
20 |
|
|
3 |
06.08041-2203 |
SCREW ; PLUG M14x1.5 |
Пробка резьбовая М14х1,5 |
1 |
1 |
|
|
4 |
06.56190-0706 |
RING ; SEAL A14x20 |
Шайба уплотнительная А14х20 |
1 |
1 |
|
|
5 |
65.90310-0135 |
SCREW ; PLUG |
Пробка резьбовая |
1 |
1 |
|
|
6 |
06.56190-0706 |
RING ; SEAL A14x20 |
Шайба уплотнительная А14х20 |
1 |
1 |
|
|
7 |
430215-00779 |
FLANGE |
Корпус датчиков температуры воды |
1 |
1 |
|
|
8 |
06.56190-0732 |
RING ; SEAL |
Шайба уплотнительная |
1 |
1 |
|
|
9 |
65.90310-0134 |
SCREW ; PLUG |
Пробка резьбовая |
1 |
1 |
|
|
10 |
65.96601-0054 |
GASKET |
Прокладка корпуса датчиков температуры воды |
1 |
1 |
|
|
11 |
06.01913-3220 |
BOLT ASS'Y M10x45 |
Болт с шестигранной головкой М10х45 |
1 |
1 |
|
|
12 |
120122-00049 |
BOLT ; STAY |
Болт распорный |
1 |
1 |
|
|
13 |
66.27435-6008 |
SWITCH ; THERMO |
Реле температуры воды |
1 |
1 |
|
|
14 |
65.27405-5005 |
SENSOR ; TEMPERATURE |
Датчик температуры воды |
1 |
1 |
|
|
15 |
65.91605-0013 |
COVER |
Крышка постели распределительного вала |
|
|
|